Zündung der XT 250 in XT500
- motorang
- Fleißiger Forums-Guru

- Beiträge: 4890
- Registriert: Mo Aug 25, 2003 16:45
- Wohnort: Graz, Österreich
- Kontaktdaten:
Re: Zündung der XT 250 in XT500
Alte (dicke!) Decke auf den Boden vor dem Polrad legen - das Polrad kann jederzeit runterploppen, auch während Du gerade ein Foto machst!
Dann bei angezogenem Abzieher mal rundum (quer zur Welle) gefühlvoll mit dem Hammer aufs Polrad klopfen (so wie bei den Traggelenken am Auto).
Dann bei angezogenem Abzieher mal rundum (quer zur Welle) gefühlvoll mit dem Hammer aufs Polrad klopfen (so wie bei den Traggelenken am Auto).
Die häufigsten Ursachen für Vergaserprobleme finden sich im Zündungsbereich * Bucheli-Projekt
- TT Georg
- Fleißiger Forums-Guru

- Beiträge: 3289
- Registriert: Fr Apr 23, 2004 23:34
- Wohnort: 44289 Dortmund
- Kontaktdaten:
Re: Zündung der XT 250 in XT500
Hallo in die runde... dann doch lieber ne 12v xt350 in die 500er.....passt aber auch irgendwie nicht. grundplatte mit dem Picup anders... aber, guck dir ruhig mal xt250 an.
gruss
gruss
Wenn mir als 18jähriger im Jahr 1988 gesagt hätte, das ich dieses 40 Jahre alte Moped fahren soll um cool zu sein, dann haetten ich wohl ganz brav den Mittelfinger gehoben und auf den hobeln aus 1948 gezeigt. Vergiss es.
- woddel
- XT-Forums-Guru

- Beiträge: 2243
- Registriert: Do Jan 12, 2017 13:30
- Wohnort: Nämberch
Re: Zündung der XT 250 in XT500
Interessant ist, das die Statorplatte das Kurbelgehäuse abdichtet.
Da sitzt der Wellendichtring und ein O-Ring drin.
Und dahinter dann die Steuerkette.
Der Konus ist auf dem Microfiche leider nicht vermaßt...
Mein Polrad unterscheidet sich leicht von der Zeichnung.
Da sitzt der Wellendichtring und ein O-Ring drin.
Und dahinter dann die Steuerkette.
Der Konus ist auf dem Microfiche leider nicht vermaßt...
Mein Polrad unterscheidet sich leicht von der Zeichnung.

- Hiha
- 5000+ Club

- Beiträge: 6464
- Registriert: Mo Jun 02, 2003 6:23
- Wohnort: Neubiberg b. München
Re: Zündung der XT 250 in XT500
Der Konus ist mit ziemlicher Sicherheit von gleichem Winkel, den haben die LiMas mit dem Mitshubishi-Stern so ziemlich alle. Nur Längenverhältnisse oder Keilnutenbreiten könnten anders sein.
Gruß
Hans
Gruß
Hans
- woddel
- XT-Forums-Guru

- Beiträge: 2243
- Registriert: Do Jan 12, 2017 13:30
- Wohnort: Nämberch
Re: Zündung der XT 250 in XT500
Kedo listet die Passfeder 90280-05013 nicht für die 250er.
Nach den Nummern ist sie aber die gleiche wie für die XT500 Lima.
SR500, TT500, XT500, XT550, SRX600, TT600/E/S/R/RE, XT600/Z/E/K, XTZ660, SZR660
Former YAMAHA-No. 90280-05001 90280-16053 90280-05013 214-11545-01 90280-05011 90280-05048
https://www.xt500parts.com/passfeder-li ... kedo_xt_de
Die Nut sollte also gleich sein...
Nach den Nummern ist sie aber die gleiche wie für die XT500 Lima.
SR500, TT500, XT500, XT550, SRX600, TT600/E/S/R/RE, XT600/Z/E/K, XTZ660, SZR660
Former YAMAHA-No. 90280-05001 90280-16053 90280-05013 214-11545-01 90280-05011 90280-05048
https://www.xt500parts.com/passfeder-li ... kedo_xt_de
Die Nut sollte also gleich sein...

- woddel
- XT-Forums-Guru

- Beiträge: 2243
- Registriert: Do Jan 12, 2017 13:30
- Wohnort: Nämberch
Re: Zündung der XT 250 in XT500
So - das Polrad ist immer noch nicht ab.
Aber ich habe mal geblitzt.
Während dem Biltzen mit dem Handy gefilmt und dann die
angezeigte Kombi Gradzahl und China-8-Euro-Digital-Drehzahlmesser
aus dem Video gelesen.
Die Ergebnisse sind recht gestreut - der Drehzahlmesser ist träge...
Aber die Eckdaten lassen sich schon erkennen.
7° Spätzündung bis ca 2000 u/min
32° max Frühzündung bei 3500-3600 u/min
Das sind Werte die ich schon mal irgendwo ähnlich gelesen habe.
(Im Bucheli steht 7° bei 1000 u/min bis 40° bei 4000 u/min)
Gruß
Woddel
Aber ich habe mal geblitzt.
Während dem Biltzen mit dem Handy gefilmt und dann die
angezeigte Kombi Gradzahl und China-8-Euro-Digital-Drehzahlmesser
aus dem Video gelesen.
Die Ergebnisse sind recht gestreut - der Drehzahlmesser ist träge...
Aber die Eckdaten lassen sich schon erkennen.
7° Spätzündung bis ca 2000 u/min
32° max Frühzündung bei 3500-3600 u/min
Das sind Werte die ich schon mal irgendwo ähnlich gelesen habe.
(Im Bucheli steht 7° bei 1000 u/min bis 40° bei 4000 u/min)
Gruß
Woddel

- Hiha
- 5000+ Club

- Beiträge: 6464
- Registriert: Mo Jun 02, 2003 6:23
- Wohnort: Neubiberg b. München
Re: Zündung der XT 250 in XT500
Das klingt doch mal schon ganz prima.
Gruß
Hans
Gruß
Hans
- woddel
- XT-Forums-Guru

- Beiträge: 2243
- Registriert: Do Jan 12, 2017 13:30
- Wohnort: Nämberch
Re: Zündung der XT 250 in XT500
Jetzt muss ich nur noch das mit dem Kegel auf dem Kurbelwellenstumpf klären. Wenn das gleich ist, Dann ist es einen Bastelversuch wert. (Mit einer irgendwo aufgetrieben Zweitlima) Nur das 


Polrad will nicht runter zum checken
und schrotten will ich jetzt auch nix an der kleinen treuen Nähmaschine.




Polrad will nicht runter zum checkenund schrotten will ich jetzt auch nix an der kleinen treuen Nähmaschine.


- TT Georg
- Fleißiger Forums-Guru

- Beiträge: 3289
- Registriert: Fr Apr 23, 2004 23:34
- Wohnort: 44289 Dortmund
- Kontaktdaten:
Re: Zündung der XT 250 in XT500
willst mit XT350 Lima basteln? nebst regler und CDI?
Wenn mir als 18jähriger im Jahr 1988 gesagt hätte, das ich dieses 40 Jahre alte Moped fahren soll um cool zu sein, dann haetten ich wohl ganz brav den Mittelfinger gehoben und auf den hobeln aus 1948 gezeigt. Vergiss es.
- woddel
- XT-Forums-Guru

- Beiträge: 2243
- Registriert: Do Jan 12, 2017 13:30
- Wohnort: Nämberch
Re: Zündung der XT 250 in XT500
Das ist ein sehr schönes Angebot geht aber ein bisschen an der ursprünglichen Fragestellung vorbei. Trotzdem: ist das auch ohne Batteriezündung? Ist ne Drehstrommaschine oder? Und wie sehen da die Zündwinkel aus?

- TT Georg
- Fleißiger Forums-Guru

- Beiträge: 3289
- Registriert: Fr Apr 23, 2004 23:34
- Wohnort: 44289 Dortmund
- Kontaktdaten:
Re: Zündung der XT 250 in XT500
ist die selbe Zündung alla XT 250 nur eben mit 12v. lese er oder Motorrang sich da ein.
Und nochmal, sowie ich es verstanden habe, a) willst besseres Licht und b) bessere zünderei.
das mit den Zündwinkeln schaust dir dann alles selber an, das weiss ich nicht! und keine Zeit, das herauszufinden. Ich würde lediglich zur verfügung stellen! XT350 daten Sammlungen ebenso. wobei, bei mir immer viel durcheinander. aber motorrang hat das dann mal aufgeräumt.
Somit ich nur Hardware.
Und nochmal, sowie ich es verstanden habe, a) willst besseres Licht und b) bessere zünderei.
das mit den Zündwinkeln schaust dir dann alles selber an, das weiss ich nicht! und keine Zeit, das herauszufinden. Ich würde lediglich zur verfügung stellen! XT350 daten Sammlungen ebenso. wobei, bei mir immer viel durcheinander. aber motorrang hat das dann mal aufgeräumt.
Somit ich nur Hardware.
Wenn mir als 18jähriger im Jahr 1988 gesagt hätte, das ich dieses 40 Jahre alte Moped fahren soll um cool zu sein, dann haetten ich wohl ganz brav den Mittelfinger gehoben und auf den hobeln aus 1948 gezeigt. Vergiss es.
- woddel
- XT-Forums-Guru

- Beiträge: 2243
- Registriert: Do Jan 12, 2017 13:30
- Wohnort: Nämberch
Re: Zündung der XT 250 in XT500
Gutes Licht habe ich dank Röbi.
Da der Röbi auch in der 250er passt habe ich gesehen das der Aufbau der beiden Limas sehr ähnlich ist.
Daraus folgte eben die Idee die sehr zuverlässige Zündung vielleicht zu adaptieren.
Aufgrund des kleinen Brennraumes habe ich spekuliert das die mutmaßliche geringere Frühzündung meiner Doppelzündung entgegenkommt.
(soo viel springt jetzt gar nicht raus die 250er verstellt wohl ähnlich: von 7° bei 2000u/min bis 32° bei 3600u/min statt 3000u/min. Müsste man versuchen...)
Also grundsätzlich geht es um zuverlässigere "Nicht-Kümmer-Zündung".
Eine Drehstrom-lima wäre jetzt nicht unbedingt schlimm, weil ich den Röbi dann immer noch in die 250er rüberheben könnte.
Wenn das Polrad ein wenig leichter ist macht das nicht so viel weil ich ja die 700g schwerere SR-Kurbelwelle drin habe.
Wobei ich dieses träge tuckern schon mag. Für wenig Schwungmasse habe ich die LC4...
Gruß
Woddel
Da der Röbi auch in der 250er passt habe ich gesehen das der Aufbau der beiden Limas sehr ähnlich ist.
Daraus folgte eben die Idee die sehr zuverlässige Zündung vielleicht zu adaptieren.
Aufgrund des kleinen Brennraumes habe ich spekuliert das die mutmaßliche geringere Frühzündung meiner Doppelzündung entgegenkommt.
(soo viel springt jetzt gar nicht raus die 250er verstellt wohl ähnlich: von 7° bei 2000u/min bis 32° bei 3600u/min statt 3000u/min. Müsste man versuchen...)
Also grundsätzlich geht es um zuverlässigere "Nicht-Kümmer-Zündung".
Eine Drehstrom-lima wäre jetzt nicht unbedingt schlimm, weil ich den Röbi dann immer noch in die 250er rüberheben könnte.
Wenn das Polrad ein wenig leichter ist macht das nicht so viel weil ich ja die 700g schwerere SR-Kurbelwelle drin habe.
Wobei ich dieses träge tuckern schon mag. Für wenig Schwungmasse habe ich die LC4...
Gruß
Woddel

- woddel
- XT-Forums-Guru

- Beiträge: 2243
- Registriert: Do Jan 12, 2017 13:30
- Wohnort: Nämberch
Re: Zündung der XT 250 in XT500
Ok! Die 350er Lima läuft auch trocken - dachte eher das ist nass wie bei der XT550/600.
Zündverstellung habe ich gefunden von 12°± 2°bei 1200u/min bis 34°± 2°bei 5000u/min.
Um 5° verdreht wäre das interessant.
Gab es zwei verschiedene Limas?
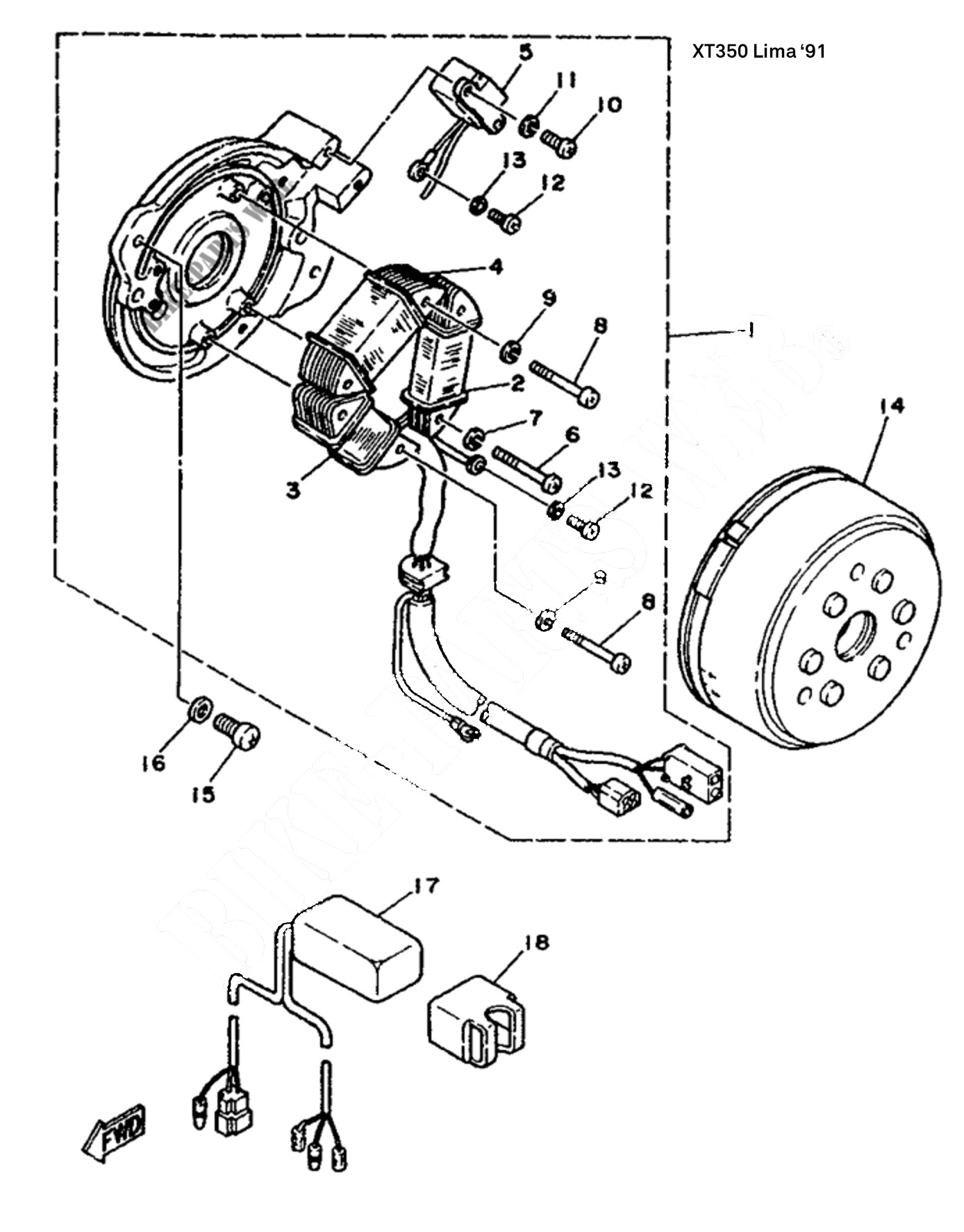
Hier von '86 sieht es XT500-ähnlich aus mit Pickup Hier von '91 sind drei gleich aussehende Spulen - könnten aber theoretisch auch wie oben verschaltet sein... Und dann ist noch der Durchmesser interessant - muss ja reingehen.
gruß
Woddel
Zündverstellung habe ich gefunden von 12°± 2°bei 1200u/min bis 34°± 2°bei 5000u/min.
Um 5° verdreht wäre das interessant.
Gab es zwei verschiedene Limas?
Hier von '86 sieht es XT500-ähnlich aus mit Pickup Hier von '91 sind drei gleich aussehende Spulen - könnten aber theoretisch auch wie oben verschaltet sein... Und dann ist noch der Durchmesser interessant - muss ja reingehen.
gruß
Woddel

- woddel
- XT-Forums-Guru

- Beiträge: 2243
- Registriert: Do Jan 12, 2017 13:30
- Wohnort: Nämberch
Re: Zündung der XT 250 in XT500
Also 350er war nicht mein Plan weil 250er so nahe liegt (oder steht
).
Aber eigentlich ist das nicht so uninteressant.
Die CDI ist soweit als robust bekannt?
Bei der XT550 gab es da ja schon nicht selten defekte.
Ich hatte eine Zündbox die erzeugte immer Schwächeanfälle.
War mal ganz schlimm beim LKW-Überholen in Norwegen. Neben dem Laster war auf einmal die Leistung weg und vor uns eine einspurige Brücke. Bremsen war auch keine gute Option mehr. Er hat gehupt...
Es stellte sich später raus das auf er Platine kalte Lötstellen waren. Das ist einfach zu fixen WENN man das vergossene Gehäuse erst mal auf hat.
Mir stellt sich nur die Frage - wäre ich der erste der das ausprobiert???
Gruß
Woddel
Aber eigentlich ist das nicht so uninteressant.
Die CDI ist soweit als robust bekannt?
Bei der XT550 gab es da ja schon nicht selten defekte.
Ich hatte eine Zündbox die erzeugte immer Schwächeanfälle.
War mal ganz schlimm beim LKW-Überholen in Norwegen. Neben dem Laster war auf einmal die Leistung weg und vor uns eine einspurige Brücke. Bremsen war auch keine gute Option mehr. Er hat gehupt...
Es stellte sich später raus das auf er Platine kalte Lötstellen waren. Das ist einfach zu fixen WENN man das vergossene Gehäuse erst mal auf hat.
Mir stellt sich nur die Frage - wäre ich der erste der das ausprobiert???
Gruß
Woddel

- TT Georg
- Fleißiger Forums-Guru

- Beiträge: 3289
- Registriert: Fr Apr 23, 2004 23:34
- Wohnort: 44289 Dortmund
- Kontaktdaten:
Re: Zündung der XT 250 in XT500
CDI bis heute nie ein Thema gewesen. bei uns nur das Ölpumpenzahnrad. würde ich alles mitliefern. Kabelbaum auch!
Die 92er ist gleich mit der vorherigen.
und ja, du wärst der erste, der das ausprobiert, und ich übernehme das dann direkt!
CDI
Kabelbaum
Zündspule?
Regler
Lima
Polrad
Und du machst soone traumhafte Bilderserie. Und ich verlinke ins XT350.de
Liebe Grüße.
Die 92er ist gleich mit der vorherigen.
und ja, du wärst der erste, der das ausprobiert, und ich übernehme das dann direkt!
CDI
Kabelbaum
Zündspule?
Regler
Lima
Polrad
Und du machst soone traumhafte Bilderserie. Und ich verlinke ins XT350.de
Liebe Grüße.
Wenn mir als 18jähriger im Jahr 1988 gesagt hätte, das ich dieses 40 Jahre alte Moped fahren soll um cool zu sein, dann haetten ich wohl ganz brav den Mittelfinger gehoben und auf den hobeln aus 1948 gezeigt. Vergiss es.
Wer ist online?
Mitglieder in diesem Forum: Amazon [Bot] und 4 Gäste